引言:认识罕见的乳腺化生性癌
乳腺癌是女性最常见的恶性肿瘤之一,但它并非单一疾病,而是由多种不同亚型组成的“大家族”。其中,乳腺化生性癌(Metaplastic Breast Carcinoma, MBC)是一种非常罕见的亚型,在所有乳腺癌中占比不足1%。它的特点是肿瘤细胞会“变身”,分化成鳞状上皮或骨、软骨等间叶组织形态,因此侵袭性更强,预后也相对较差。由于其罕见性和复杂性,诊断和治疗都面临着独特的挑战。如果您对自己的病情或治疗方案有疑问,可以尝试MedFind的AI问诊服务,获取专业的第二诊疗意见。
本文将通过一个真实的病例,带您深入了解这种特殊的乳腺癌——伴有软骨样分化的化生性癌。
病例回顾:从发现结节到最终确诊
患者基本情况与初步检查
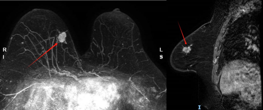
患者为一名51岁女性,因发现右乳结节5天而入院。初步的影像学检查结果提示了恶性肿瘤的可能:
- 乳腺彩超:发现一个约1.8cm大小的低回声结节,形态不规则,边缘不光滑,被评为BI-RADS 4C类。这通常意味着结节具有较高的恶性风险,强烈建议进行活检。
- 乳腺MRI增强扫描:进一步确认了右乳内上象限存在一个约2.1cm大小的不规则肿块,边缘有毛刺,增强后明显强化,同样评为BI-RADS 4C类。

图1 乳腺MRI影像
病理诊断:揭开肿瘤的“真面目”
为了明确诊断,医生对患者进行了穿刺活检和手术切除。病理科医生在显微镜下观察到了非常特殊的景象:
大体观察:手术切除的组织中可见一个约1.8cm的灰白色结节,质地中等,与周围组织边界不清。

图2 肿瘤大体标本
镜下观察:在显微镜下,肿瘤呈现出两种截然不同的成分。一部分是典型的浸润性癌细胞,排列成巢状、索状;而另一部分区域则出现了类似软骨的黏液样基质,癌细胞直接过渡到这种软骨样区域,这是化生性癌的典型特征。

图3 显微镜下肿瘤细胞与软骨样基质
免疫组化分析:为了进一步确认肿瘤的性质,进行了免疫组化染色。结果显示:
- 激素受体和HER2状态:ER(雌激素受体)、PR(孕激素受体)、HER2均为阴性,这证实了该肿瘤属于三阴性乳腺癌。
- 其他标志物:化生性癌成分表达Vimentin(间叶标志物)和CK5/6(基底样标志物),而不表达E-cadherin,这与典型的导管癌不同。

图4 免疫组化染色图
最终病理诊断
综合所有检查结果,最终诊断为:(右)乳腺浸润性癌+特殊类型的混合型癌(伴软骨样分化的化生性癌占70%,浸润性乳腺癌非特殊类型2级占30%)。
深入解读:关于乳腺化生性癌您需要了解的
什么是产生基质的癌(MPC)?
本病例中的“伴软骨样分化的化生性癌”在病理学上又被称为产生基质的癌(Matrix-Producing Carcinoma, MPC),是乳腺化生性癌中一个更为罕见的亚型。其核心特征是浸润性癌细胞可以直接过渡为黏液软骨样或骨样基质,中间没有梭形细胞肉瘤样区域作为“桥梁”。
临床特征与诊断难点
MPC的发病年龄跨度大,平均在50岁左右。临床上通常表现为无痛性、边界较清的肿块,与其他乳腺癌类型难以区分。由于其成分复杂,仅通过细针穿刺活检很难做出准确诊断,常常需要手术切除后的完整标本才能最终确诊。
治疗策略与预后展望
由于MPC几乎都是三阴性乳腺癌,因此常规的内分泌治疗和针对HER2的靶向治疗通常无效。目前的标准治疗方案主要包括:
- 手术治疗:作为首要的治疗手段,目标是完整切除肿瘤。
- 化学治疗:化疗是术后辅助治疗和晚期治疗的主要方式。近年来,新辅助化疗(术前化疗)也被越来越多地应用于MBC的治疗,部分研究显示MPC对新辅助化疗的反应可能优于其他MBC亚型。寻找合适的治疗药物是关键一步,患者可以访问MedFind靶向药代购平台,了解全球最新的药物信息。
- 放射治疗:根据手术方式和病理结果,可能需要进行术后放疗以降低局部复发风险。
预后方面,肿瘤大小、淋巴结是否转移是影响预后的重要因素。一般来说,肿瘤越大、有淋巴结转移的患者预后相对较差。但也有研究指出,基质分化程度较低的MPC预后可能更好。
结语
乳腺化生性癌(MPC)是一种罕见且复杂的乳腺癌亚型,其诊断依赖于经验丰富的病理医生,治疗上也更具挑战性。通过本病例的分享,我们希望患者和家属能对这种疾病有一个更清晰的认识。尽管面临挑战,但随着医学研究的不断深入,新的治疗方法和策略也在不断涌现。准确的诊断和规范的综合治疗是改善预后的关键。获取更多关于乳腺癌及其他癌症的前沿资讯,请访问MedFind抗癌资讯板块。
*本文(包括图片)均为作者投稿, 仅供行业交流学习用,不作为医疗诊断依据。
