研究揭示了什么?
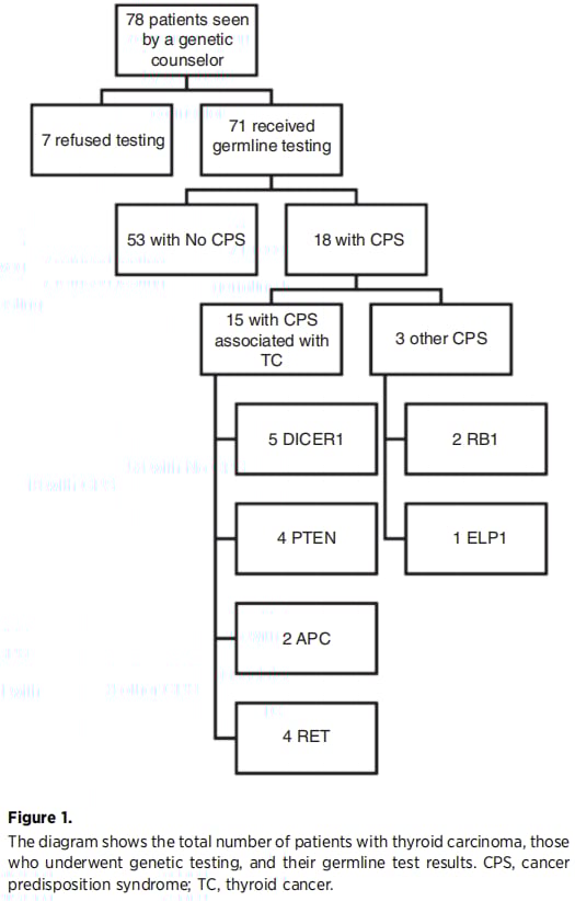
儿童甲状腺癌虽然相对罕见,但其背后的遗传因素正日益受到关注。一项针对71名儿童甲状腺癌患者的深入研究揭示了一个惊人的事实:高达25%(即四分之一)的患儿携带与癌症易感相关的致病性基因变异(PV)。

这项研究发现,在以甲状腺癌为首发恶性肿瘤的患儿中,13.5%携带此类基因变异;而在将甲状腺癌作为第二原发恶性肿瘤的患儿中,这一比例飙升至57.9%。这一发现强调,遗传因素在儿童甲状腺癌的发生发展中扮演着不可忽视的角色。
哪些孩子风险更高?三类患儿需重点关注
研究通过数据分析,明确指出了三类需要高度警惕遗传风险的儿童甲状腺癌患者:
- 确诊年龄极小: 在11岁之前确诊甲状腺癌的儿童,携带致病性基因变异的概率显著更高。
- 特殊病理类型: 确诊为甲状腺髓样癌的患儿。在该研究中,5名髓样癌患儿中有4名(80%)检测出了RET基因的致病性变异。
- 有既往癌症病史: 对于曾患有其他癌症,后续又发生甲状腺癌的儿童,其存在潜在遗传易感性的可能性极大。
这些复杂的遗传信息往往需要专业解读。如果您对孩子的病情或基因检测报告有疑问,希望获得专业的第二诊疗意见,可以尝试MedFind的AI问诊服务,获取个性化分析。

基因检测为何如此重要?
明确患儿是否携带癌症易感基因,对于临床诊疗具有至关重要的指导意义:
- 指导精准治疗: 基因检测结果可以帮助医生制定更个体化的治疗方案,例如决定是进行全甲状腺切除术还是部分切除术,以及是否需要采用放射性碘治疗或化疗等。
- 预警未来风险: 确认特定的遗传综合征后,可以为患儿启动针对性的癌症监测计划,及早发现和干预可能出现的其他肿瘤。
- 惠及整个家庭: 遗传咨询和检测不仅能帮助患儿,还能为可能同样面临患癌风险的亲属提供预警和检测建议。
明确的基因信息有助于医生制定更精准的治疗方案,包括选择合适的靶向药物。MedFind致力于为患者提供全球最新的靶向药代购服务,助力精准治疗。

研究结论与建议
这项研究强有力地证明,应将遗传咨询和胚系基因检测纳入所有儿童甲状腺癌患者的评估流程中。特别是对于确诊年龄小、病理类型为髓样癌或有既往癌症史的儿童,进行基因检测的必要性尤为突出。
此外,研究还发现了DICER1、PTEN、APC和RB1等基因在甲状腺非髓样癌患儿中的变异情况,并提示了遗传性视网膜母细胞瘤与甲状腺癌之间可能存在的关联。这些发现为我们更深入地理解儿童甲状腺癌的发病机制提供了新的方向。
了解更多关于甲状腺癌的前沿资讯和诊疗指南,请持续关注MedFind,我们将为您提供最新的抗癌信息与支持。





